客户成功知识库
实体卡开卡流程
电子卡开卡流程
员工管理
订单如何查询
设备故障—设备离线
设备故障-打开插座不通电
设备故障-设备检测不到功率
施工指导
资金常见问题
收费标准设置与调整
设备故障—漏保推闸就跳闸(推不上闸)
设备故障-漏保推闸过会跳闸
设备故障-刷卡问题
订单曲线浅析
设备故障-喇叭问题
极速投放
流量卡使用问题
站点配置
电子卡退款
服务费续费操作流程
商家入驻/怎么创建商家
手机权限-如何打开蓝牙和定位授权
蓝牙设备用户使用方式
充电桩商家端后台续费教程
充电桩设备如何下架
充电桩站点新建和删除
打印机盒子配网
打印机颜色异常
充电桩修改计费模式
打印机设备不在线
打印机卡纸处理
打印机二维码下载教程
打印订单退款审核
打印机打印A4出相片处理教程
打印机新建商家并设置分成
打印机如何加墨
共享打印机开箱三步骤
共享设备配网教程
共享设备下载空间码门店码
共享设备安装教程
团购平台(抖音、美团)入驻及核销
共享设备电子卡、卡券创建教程
共享设备商家注册
共享设备投放
共享设备洗衣机用户下单操作
共享设备计费规则
共享设备后台软件功能
共享设备商家支付宝签约
打印机提交订单后无反应
打印机未连接指导操作教程
多路控制器KZ10产品介绍
汽车桩绑定及分享
私桩收益
汽车桩指示灯含义
打印机纸张放置(A4纸/相片纸)
蓝牙锁安装教程
自用设备绑定
洗车机后台功能设置
共享
洗车机到货安装教程
设备离线排查及处理教程
设备继电器粘连排查方式及处理教程(设备长通电)
设备检查功率失败排查步骤及教程(充电失败/几分钟断电)
电量服务费计费方式测算教程
洗车机水压调试教程
排空防冻功能洗车机怎么设置
共享设备投放及设置教程(说明书版)
共享商家注册及开通收款账号教程(说明书版)
独立计费设备投放及软件功能
锁球器安装教程
打印分成设置
用户团购券使用教程
-
+
首页
团购平台(抖音、美团)入驻及核销
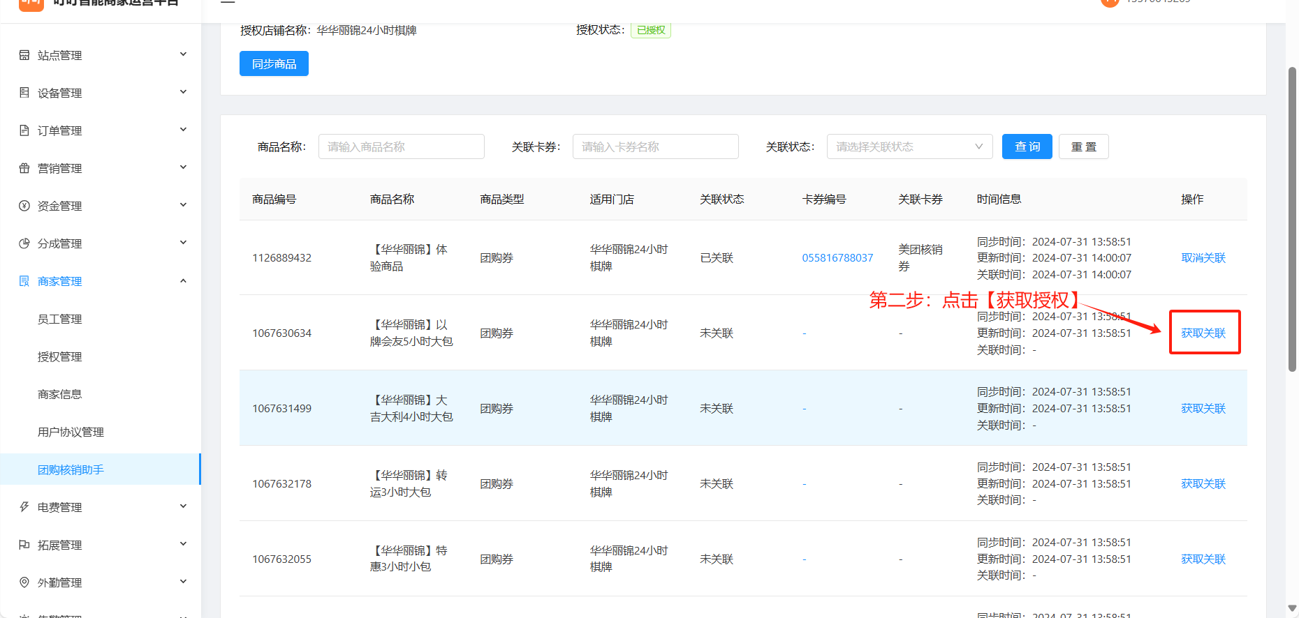
## 抖音及美团入驻核销视频指引  ## 抖音入驻核销步骤指引 #### 一、抖音认证及入驻 登录链接:https://life.douyin.com/(抖音来客) 需要资质:门店照片、营业执照、法人身份证正反面照片 1、选择入驻类型--单门店商家  2、门店认领,输入门店名称进行下一步;如果没有门店信息,需要点击【新建店铺】  1. 填写门店信息,并点击【保存并下一步】  4、提交资质信息,并点击【提交资质】  #### 抖音添加商品 1. 保证金缴纳及绑定收款账号   1. 店铺装修  3、商品上架:商品管理--商品发布--创建商品  #### 三、叮有鱼小程序抖音授权 登录叮叮智能商家端PC端后台:https://mms.ddzn.cc/ 1. 【商家管理--团购核销助手】,点击【抖音店铺授权】  1. 选择授权站点,点击【确定】  1. 自动跳转至【抖音来客】登录授权链接,进行登录;  5、登录成功后,选择授权的门店,并确认授权绑定;   #### 四、叮有鱼商家端建卡券商品及关联 1、【营销管理--卡券商品】,点击【新建卡券产品】,按照需求填写卡券信息并保存。   1. 【营销管理--卡券商品购买记录】查看发布的卡券购买记录(包含卡券核销) 3、【商家管理--团购核销助手】,点击【三方门店名称】进入详情;  4、点击【同步商品】将抖音平台创建的商品同步到叮叮智能商家版。同步完成后,点击商品列表最右侧的【获取关联】,搜索找到在叮叮智能商家版建立的卡券商品,点击【确定】即可;   #### 五、用户核销 1. 用户在抖音门店购买团购券,获取核销码/核销二维码 2. 在叮有鱼共享小程序中,选中使用的门店进行核销,亦可在预约页面进行核销,  ## 美团入驻核销 #### 一、美团认证及入驻 登录链接:vg-pc-platform-merchant-selfhelp (美团开店宝)或者下载美团开店宝APP 资质:门头照片、营业执照、法人身份证正反面照片和法人手机号码 【休闲娱乐--棋牌】合作商户通费用4800元/年(不同地区,不同类目商户通费用不同) #### 二、美团添加商品 #### 三、叮有鱼小程序美团授权 登录智能商家端PC端后台链接:https://mms.ddzn.cc/ (叮叮智能商家版) 【商家管理--团购核销助手】,点击【美团店铺授权】  去完成商家授权和门店授权;  1、商家授权 请点击【去授权】,浏览器将打开【美团平台登录页】;  勾选“团购核销”,点击【下一步】;  授权客户资源,点击【同意授权】,登录成功以后回到叮叮智能商家版后台;  2、门店授权 商家授权完成之后,请点击【门店授权】,选择授权站点,点击【确定】   授权门店资源,点击【同意授权】即可  #### 四、钉钉智能商家版建卡券商品及关联 1. 第一步:点击【三方店铺名称】,进入店铺商品详情页面;  1. 第二步:点击【同步商品】,将美团平台的商品同步到叮叮智能商家版;  3、【营销管理--卡券商品】,点击【新建卡券产品】,按照需求填写卡券信息并保存。   【营销管理--卡券商品购买记录】查看发布的卡券购买记录(包含卡券核销) 进行美团商品与叮叮智能商家版卡券商品关联 4、【商家管理--团购核销助手】,点击【三方门店名称】进入详情;  5、点击商品列表最右侧的【获取关联】,搜索找到在DDZN平台建立的卡券商品,点击【确定】即可;  #### 五、用户核销 1. 用户在美团门店购买团购券,获取核销码/核销二维码 2. 在叮有鱼共享空间小程序中,选中使用的门店进行核销,亦可在预约页面进行核销, 
柳文琳
2025年1月17日 13:42
分享文档
收藏文档
上一篇
下一篇
微信扫一扫
复制链接
手机扫一扫进行分享
复制链接
Markdown文件
分享
链接
类型
密码
更新密码